大流量多袋式過濾器結構圖

大流量多袋式過濾器工藝圖

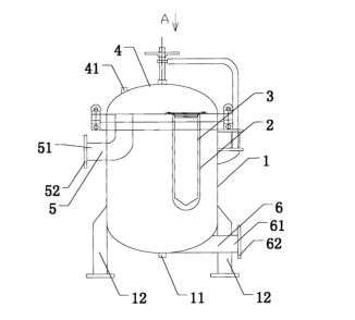
大流量多袋式過濾器結構組成
大流量多袋式過濾器是所有過濾器中產水量最大的,根據需要,可達30T/H產水量。所以大流量多袋式過濾器的結構組成相比于其他過濾器來說要更多一些,加固措施也更多一些。
大流量多袋式過濾器主要是由手輪型搖臂,支撐架,法蘭接口,快拆螺栓組,排氣口,壓力表口,密封圈,濾袋,網籃,排污口,支腳等組成。為了保證過濾效率,大流量袋式過濾器的罐體材質一般是采用304不銹鋼材質,產水量越大,對應的罐體厚度也越大。
大流量多袋式過濾器結構優勢
1.性能穩定,大流量袋式過濾器根據過濾系統特點,可以采用上進下出,也可以采用側進下出的過濾方式,產水水質好,流量穩定,可以7*24小時連續運行。
2.使用壽命長,袋式過濾器的壽命相比較于濾膜,超濾設備等都長的多,濾膜的使用壽命通常只有3-5年,而袋式過濾器可以使用8-10年,并且濾袋可以反復清洗使用。
3.易于安裝,袋式過濾器可以拆開,根據使用環境可以從前置過濾換到后續過濾工藝中。
4.更換方便,袋式過濾器是以濾袋作為過濾介質,如果濾袋更換,只需要更換濾袋就可以重新使用。
本文由水天藍環保(http://m.fengxinwj.cn/)原創首發,轉載請以鏈接形式標明本文地址或注明文章出處!



客服1